IT之家 2 月 3 日消息,汽车座椅至关重要,毕竟人们驾车时,始终都要坐在方向盘后方。多年来,汽车座椅历经了大幅革新,如今多款车型都配备座椅加热与通风功能,让驾乘者的臀部保持理想温度。高端车型甚至搭载了按摩座椅,以此缓解通勤途中的疲惫感。汽车媒体 CarBuzz 发现了梅赛德斯-奔驰的一项全新专利,能将座椅舒适体验再度升级:在座椅系统中新增头部按摩功能。

车载头部按摩功能的初衷乍看有些奇特,实则是对现有技术的完美延伸。该企业专利文件中解释称,压力过大的人会感到“肌肉紧张、疲劳和头痛,这会影响驾驶体验。”

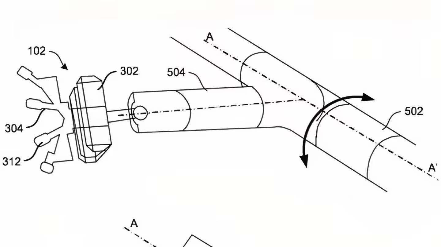
IT之家注意到,座椅头部按摩的运作机械结构极为复杂,比如系统会通过传感器识别驾乘者的身高与头部位置,自动将按摩机构调节至适配角度。
奔驰的设计方案是,在头枕内安装一个中枢模块,连接多根带可调节支杆的按摩臂。每根按摩臂均可实现移动、扭转与震动,整套装置还能进行旋转,覆盖整个头部。该系统由电机驱动,既可以安装在头枕内部,也能整合进座椅靠背现有的按摩结构中。


专利文件显示,该系统支持多种启动方式:既可通过车机中控屏按键操作,也能使用智能手机远程开启。开启后,用户还能自定义调节,让按摩头精准作用于想要按摩的部位。
奔驰的核心诉求,是为驾乘者打造极致舒适体验。该品牌早已实现身体其他部位的座椅按摩功能,这项专利正是在此基础上的迭代升级。结构上的多重设计,能让按摩臂精准调整至最佳角度,贴合头部的按摩点位。
和所有车企一样,奔驰也常会申请部分未必投入量产的专利,核心目的是防止竞争对手抢占相关技术概念。头部按摩功能乍看或许实用性不强,却能成为奔驰对抗竞品的差异化营销优势。
