2025年的新能源汽车战场,早已血流成河。当一众新势力在“内卷”中挣扎求生,一家名为“埃尚”的品牌却以一种近乎荒诞的方式闯入战场——广西汽车集团手握商用车资质,却无乘用车门票;河南森源深陷债务泥潭,唯剩一纸生产资质。
两家“弱势”国企的“联姻”,使埃尚汽车从诞生之初就面临灵魂拷问:一个“借腹生子”、品牌模糊、异地生产的“混血儿”,如何赢得消费者的信任?在巨头环伺、价格战惨烈的今天,让人很难看好其未来。

出身谜团:地方国资的“前台首秀”
初见埃尚,那个与五菱经典徽标有着千丝万缕联系的菱形标志,很容易让人联想到创造了秋名山传说的五菱神车。不过,深挖其股权关系不难发现,埃尚汽车与五菱并无直接血缘关系,其母公司虽同属“五菱”体系,却非大众熟知的“上汽通用五菱”,而是广西汽车集团全新打造的新能源乘用车品牌。

广西汽车集团五菱大厦
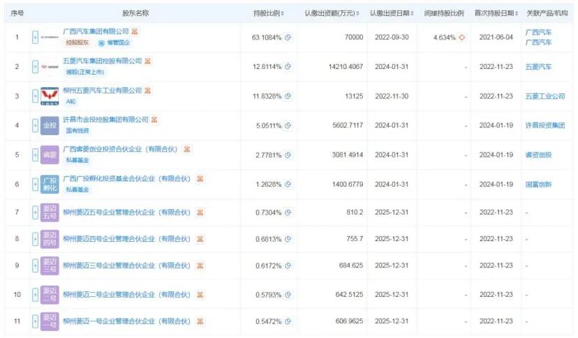
查询公开信息可见,埃尚汽车微信公众号认证主体为柳州五菱新能源汽车有限公司,而通过天眼查查询,该公司大股东为广西汽车集团,持股比例为63.1084%。由此可见,广西汽车集团这个五菱品牌的创始元老,在目睹“小弟”在新能源赛道大放异彩后,不再满足于幕后角色,决心亲自下场。

不过,一家来自河南许昌的国有独资企业——许昌市金投控股集团有限公司,也赫然出现在股东名单中,持股比例为5.0511%,为第四大股东。而值得注意的是,在埃尚汽车推出的首款车型埃尚A100C上,其车尾右侧恰好写有森源二字。就在9月25日,河南森源电动汽车有限公司“埃尚A100C”首台量产车下线仪式在森源电动汽车产业园举行。

众所周知,河南森源集团来自河南许昌,成立于1992年,是当地最大的民营企业,在智能电气领域名气很大。早在2015年,趁着新能源汽车政策的春风,森源集团先是成立了森源电动汽车有限公司,后在许昌投资100亿元欲打造河南省最大的纯电动乘用车生产基地,总占地3000亩,年产20万辆纯电动汽车及50万套核心零部件,并涉足新能源光伏发电和充电桩领域。

然而,前期的巨大投入,并未带来应有的回报,不久后森源集团深陷资金链困局,举步维艰,并将上市公司森源电气“拖下水”;此外,森源重工长期拖欠员工工资,面临经营困难。
公开信息显示,自2020年以来,森源电气被质押股票多次被司法拍卖,森源集团多次被列为失信被执行人,被执行标的总金额高达几十亿元。与此同时,森源集团实际控制人楚金甫被列为失信被执行人,被限制高消费,79.55%的股权全部被冻结。在高额债务面前,森源电气无奈“委身”国资,以股权换求生。

看到这,或许不少网友满脸问号,广西汽车集团多少属于汽车资深玩家了,并且柳州当地的汽车产业经过这么多年的发展,整车和零部件产业已经非常完善,为啥还要跑到千里之外的河南许昌生产汽车?并且合作对象还有一段不堪回首的过往。其实,现实情况远比你我想象的要残酷。
资质困局:“借腹生子”的无奈
“舍近求远”的答案,指向中国汽车制造业的核心命题——“生产资质”。
自2017年起,发改委和工信部收紧了造车资质的审批,主要是为了避免生产过剩和防范部分新势力企业骗补,让汽车行业发展得更加规范、健康。再加上造车资质严格区分为商用车和乘用车两类,不可混用。对于没有造车资质的企业而言,就得想尽各种办法拿到“入场券”。

就广西汽车集团而言,其“汽车老炮”的身份不假,但手握的是新能源商用车资质,缺乏进军乘用车市场的关键“门票”。若眼下如果从头申请乘用车资质,不仅流程漫长,要耗费相当长时间,且成功率难以保证。在新能源汽车市场“三个月一代”的快速迭代中,时间就是生命,若等资质到手,市场窗口恐已关闭。因此,“借腹生子”——通过森源手里的资质将产品快速落地,成为埃尚汽车最现实的选择。

但需要指出的是,这场合作远非简单的商业代工。如上文所述,代工方河南森源背后的许昌国资委,其实是埃尚运营方——柳州五菱新能源汽车有限公司的股东之一。也就是说,这是一场跨越地域的国有资本深度绑定:广西方面出品牌、技术、市场策略;河南方面出资质、厂房、生产能力。通过股权交叉,两地国企结成了利益共同体。

对于这种创新模式,黄河科技学院客座教授张翔分析认为:“当前新能源汽车增长非常迅猛,广西汽车集团和河南森源的这种合作模式还是可行的,商业前景可期。”但他同时指出了严峻挑战,“森源做商用车出身,知名度低,技术基础单薄,这是一大隐忧。更重要的是,A00级车市场已经饱和,产能过剩,而且这个细分市场正在萎缩。”
张翔进一步解释道,随着消费升级,消费者在经济收入提高后更倾向于购买空间更大、配置更高的A级或B级车。“森源进入市场的时间明显滞后了,A00级车的黄金时代已经过去。虽然现在市场仍有需求,但它确实错过了最好的发展时机。”

生死时速:乱世中的生存概率
回顾中国新能源汽车发展史,类似埃尚汽车这样的“借腹生子”并非首例,其面临的挑战与数年前的“自游家”颇为相似——后者由前华为高管李一男创立,同样因资质问题选择与大乘汽车合作,最终因合作方自身难保而“夭折”。
同样由于没有生产资质,自游家选择与众泰系的大乘汽车联手造车。无奈大乘汽车并非可靠合作伙伴,这家身陷泥潭的车企,也已多年没有生产新车。而根据工信部2018年的要求,对于停产12个月以上的新能源车企,再次生产需要经过工信部的核查,不能保持准入条件或已经破产的企业,可能会被撤销资质。

这使得官宣上市仅两个月的自游家NV很快“胎死腹中”,这家造车新势力不得不官宣倒闭,上演了一场“上市即退场”的闹剧,最终沦为车市笑柄。由此来看,靠“借腹生子”模式的成功者寥寥无几,失败者却是大多数。
与此同时,一个无法忽视的事实,在新能源汽车市场,品牌认知直接影响着消费者的信任和忠诚。埃尚汽车这种复杂的”身世”,让其从诞生之初就面临着”我是谁”的身份认同危机。当消费者看到车尾的”森源”标志时,难免会产生疑问:这究竟是一个传承五菱基因的品牌,还是一个借壳上市的新玩家?
这种品牌认知的混乱,可能会成为埃尚汽车征战市场的一大隐忧。在竞争日益激烈的新能源汽车市场,清晰的品牌定位和深入人心的品牌形象,往往比产品本身更重要。

由此来看,当下的埃尚汽车面临的挑战不可谓不严峻:一方面要消化异地生产的额外成本,给出有竞争力的售价;另一方面要在众多竞争对手中建立品牌认知;同时还要确保产品质量稳定可靠,这些都是摆在这个新生品牌眼前的难题。
【结语】埃尚汽车的诞生,可谓一场豪赌。赌的是异地代工模式能否跑通,赌的是千公里供应链的成本控制,赌的是消费者对一个“借腹生子”品牌的认可。从柳州到许昌,这场豪赌没有退路——在新能源汽车的乱世中,要么杀出一条血路,成为国资转型的典范;要么如流星划过,成为行业洗牌中的又一个注脚。不妨让子弹多飞一会儿,不久后答案或将揭晓。
