
雷递网 雷建平 9月23日
深圳迅策科技股份有限公司(简称:“迅策科技”)更新招股书,准备在港交所上市。
迅策科技2023年12月完成交叉轮融资2.2亿元,投前估值60亿元。迅策科技2025年1月已获IPO备案,拿到了上市的钥匙。
上半年营收2亿 同比降30%
迅策科技成立于2016年,是一家实时数据基础设施及分析供应商,产品组合的核心是数据基础设施,一个云原生的统一数据平台,可收集、清理、管理、分析及治理来自多个来源的异构数据,部署在客户的自我管理云或本地系统中,建立在该基础上的是我们的数据分析应用层面,利用底层基础设施来产生洞察、作出预测或为业务决策提供资料。

迅策科技为全行业企业提供涵盖数据基础设施及数据分析的实时解决方案,战略重点是资产管理公司。
招股书显示,迅策科技2022年、2023年、2024年营收分别为2.88亿元、5.3亿元、6.32亿元;毛利分别为2.25亿元、4.19亿元、4.85亿元;期内亏损分别为9651万元、6339万元、9785万元。

迅策科技2025年上半年营收为1.98亿元,较上年同期的2.83亿元下降30%;毛利为1.32亿元,上年同期的毛利为2.28亿元;期内亏损为1.08亿元,上年同期的期内亏损为9776万元。

迅策科技2025年上半年付费客户总数为121个,较上年同期的169个大幅减少。

截至2025年6月30日,迅策科技持有的现金及现金等价物为2.22亿元。
估值超60亿
迅策科技执行董事分别为刘志坚、耿大为、杨阳、宣然、姜春飞;非执行董事为蔡祥,独立非执行董事分别为汪棣、蒋昌建、田江川女士。

迅策科技成立以来获得多次融资,其中,2017年7月完成7600万元融资,投前估值1.5亿,投后估值2.26亿元;2019年6月完成A+轮融资8875万元,投前估值6亿元,投后估值6.8875亿元;2020年9月完成B轮2.1亿元融资,投前估值10亿元,投后估值12.1亿元;

迅策科技2021年6月完成6.54亿元融资,投前估值18亿元,投后估值24.54亿元;2021年8月完成C+轮6400万元融资,投前估值24.54亿元,投后估值为25.18亿元;
迅策科技2022年4月完成7.98亿元D轮融资,投前估值40亿元,投后估值为47.98亿元;2023年12月完成交叉轮融资2.2亿元,投前估值60亿元,投后估值62.2亿元。
腾讯云锋是股东
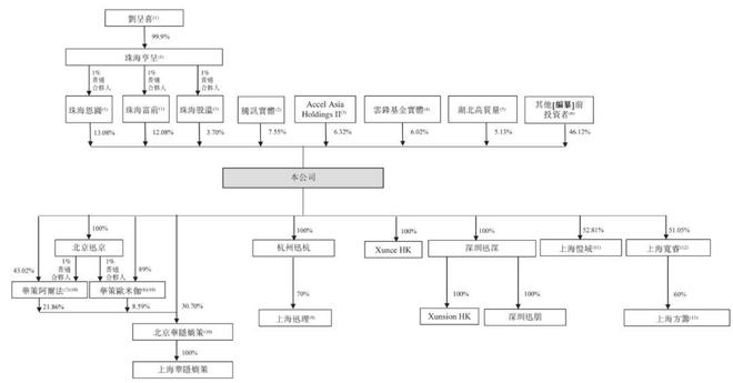
IPO前,刘呈喜通过珠海亨呈管理珠海恩圆控制13.08%股权,通过珠海亨呈管理珠海富前控制12.08%股权,通过珠海亨呈管理珠海股温控制3.7%股权。此外,腾讯持股7.55%,KKR旗下AccelAsia持股为6.32%,云锋基金实体持股6.02%,洪泰基金旗下湖北高质量持股5.13%。

迅策科技其他投资者包括深圳源政、深圳赛达仁、中南荷多、星罗景佑、无锡海盈佳、中南弘远、GSPSI、Madison Square、GBA Fund、羽信仁辉、深圳众投、天津魏紫、广东粤财、创盈健科、阳光家族投资、时代百富、上海熠云、北京中关村、广州由山、合嘉泓盛、北京歌华、通瑞长盈、泰康人寿、羽信国元、上海域恺、天津熙华、杭州柏晖、羽信国昌、中金浦成及金科灼智。
创新工场曾经天使投资了迅策科技,但此后退出了股东行列。
IPO前,深圳源政持股为0.87%,云锋新呈持股为3.76%,深圳赛达仁持股为0.82%,中南荷多持股1.67%,星罗景佑持股为1.31%,无锡海盈佳持股为1.13%,中南弘远持股为1.23%,云锋麒泰持股为2.26%,GSPSI持股为3.23%,MadisonSquare持股为4.54%;
大湾区基金旗下GBA Fund持股为4.53%,羽信仁辉持股为1.27%,深圳众投持股为0.64%,深圳腾讯持股为0.04%,天津魏紫持股为4.51%,广东粤财持股为0.86%,创盈健科持股为0.05%;

阳光家族投资持股为0.75%,时代百富持股为0.3%,上海熠云持股为0.6%,北京中关村、广州由山、合嘉泓盛分别持股为0.3%,广西腾讯持股为7.51%,北京歌华持股为3.34%,通瑞长盈持股为0.06%;
泰康人寿持股为1.5%,羽信国元持股为0.66%,上海域恺持股为1.92%,天津熙华持股为2.59%,浙商证券旗下杭州柏晖持股为1.39%,羽信国昌持股为1.09%,中金浦成持股为0.4%,金科灼智持股为3.98%。
